Thursday, May 21, 2026
Apple CarPatents

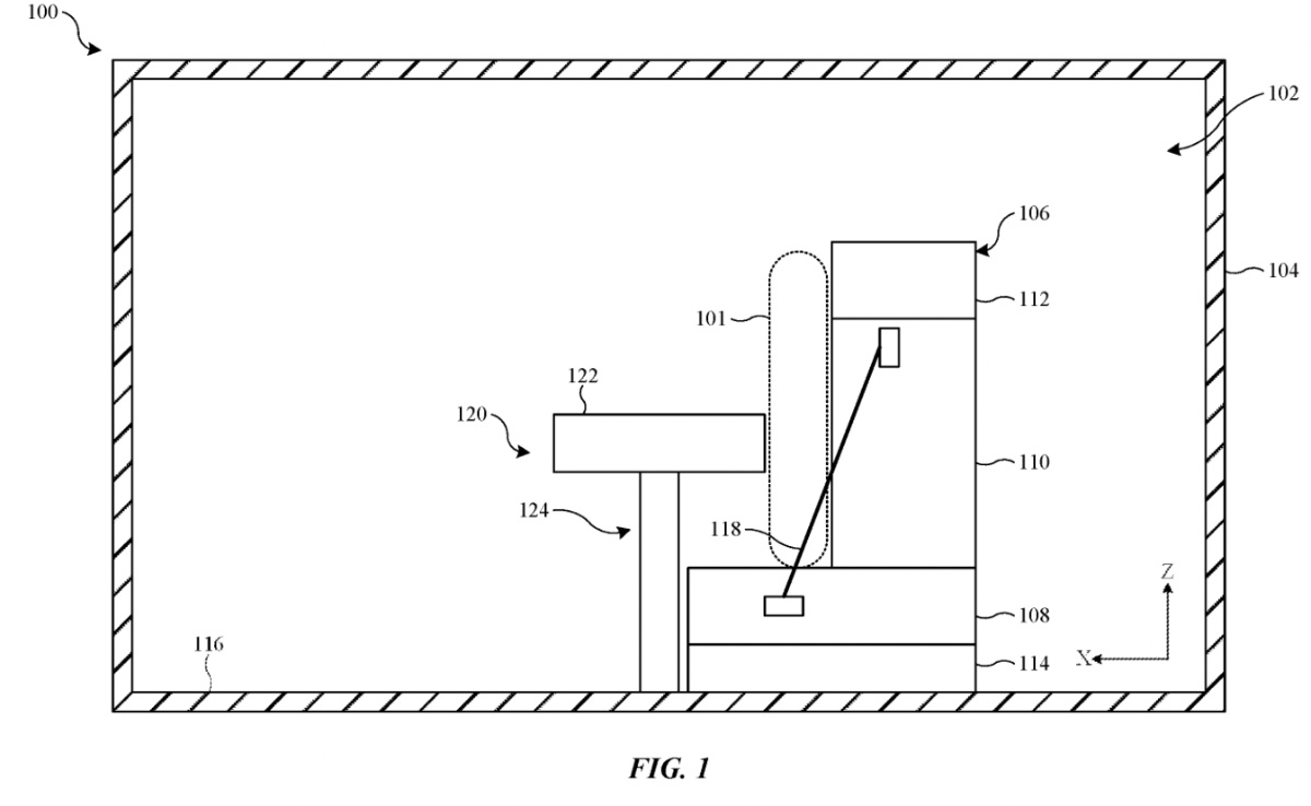
Apple patent involves a control system for a vehicle

FIG. 1 is a schematic side view illustration of a vehicle that includes a passenger cabin.
Be a patron to read this exclusive content!
To view this content, you must be a member of Apple's Patreon at $5 or more
Already a qualifying Patreon member? Refresh to access this content.
Dennis Sellers
the authorDennis Sellers
Dennis Sellers is the editor/publisher of Apple World Today. He’s been an “Apple journalist” since 1995 (starting with the first big Apple news site, MacCentral). He loves to read, run, play sports, and watch movies.