Sunday, April 26, 2026
NewsOpinionsPatents

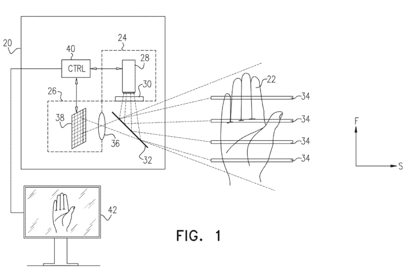
Apple patent filing involves 3D images on Macs, iPads, iPhones, and perhaps an ‘Apple Car’

Be a patron to read this exclusive content!
To view this content, you must be a member of Apple's Patreon at $5 or more
Already a qualifying Patreon member? Refresh to access this content.
Dennis Sellers
the authorDennis Sellers
Dennis Sellers is the editor/publisher of Apple World Today. He’s been an “Apple journalist” since 1995 (starting with the first big Apple news site, MacCentral). He loves to read, run, play sports, and watch movies.